立即注册找回密码

QQ登录

只需一步,快速开始

微信登录

微信扫一扫,快速登录

搜索

图文播报

查看: 414|回复: 0

2026年3月24日 星期二【桔说新闻】

[复制链接]
发表于 2026-3-24 09:20 | 显示全部楼层 |阅读模式

登陆有奖并可浏览互动!

您需要 登录 才可以下载或查看,没有账号?立即注册 微信登录

×
01 IVD等行业税率调整!
近日,生物制品、商品混凝土等行业沿用多年的3%简易计税政策将自2026年1月1日起正式终结,改为13%一般计税模式。《公告》保留抗癌药品等民生领域简易计税政策,取消部分历史简易计税项目,以完善税制、护航发展。国家发改委许生称,此调整可提高政策精准性,促使企业专注公平竞争与长远发展。增值税一般计税方法能畅通上下游抵扣链条,减少重复征税,规范行业税收秩序,营造公平竞争环境,推动行业从“粗放式经营”转向“精细化管理”。
来源 :人民日报、体外诊断价值圈

99d6df51-8eb7-4e28-84fe-474b8a44172c.png


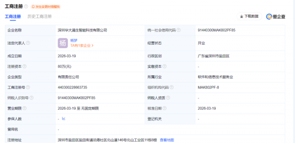
02 华大智造成立新公司!
近日,深圳华大涌生智能科技有限公司成立。经营范围包含:人工智能理论与算法软件开发;人工智能基础软件开发;人工智能应用软件开发;人工智能硬件销售;智能机器人的研发等。
640?wx_fmt=png&from=appmsg#imgIndex=2

企查查股权穿透显示,该公司由华大智造和杨梦共同持股。企业法人为杨梦博士,据查询为华大智造高级副总裁。
来源:IVD资讯

1c393e02-21d1-423e-8804-eba7be26935e.png


03 1450亿!雅培完成重磅收购
2026年3月20日,雅培宣布完成对美国肿瘤筛查与分子诊断领域企业Exact Sciences的收购,交易总金额约210亿美元(约合1450亿元人民币)。
640?wx_fmt=png&from=appmsg#imgIndex=4

Exact Sciences核心产品有无创结直肠癌筛查产品等,在研管线含多癌种早筛等。此次收购是雅培从传统体外诊断切入“肿瘤早筛+精准肿瘤学”高增长赛道的战略之举,可补齐其肿瘤早筛与分子诊断短板,助其获得全流程能力,进入约600亿美元规模市场。
来源:思宇MedTech

14cfe7af-b511-43b7-8dcb-83dcd5738cff.png


04 贝瑞基因董事赵辉辞职!系源创基因实控人
3月22日晚,贝瑞基因(000710)公告,董事赵辉因个人原因辞去第十届董事会董事、审计委员会委员职务,辞职后不再担任公司及控股子公司其他职务。赵辉是郑州源创基因科技有限公司实控人,3月15日央视“3·15”晚会曝光外泌体相关公司,源创基因被点名。目前我国无外泌体药品获批上市,也未允许其添加进二类医疗器械,而源创基因夸大虚假宣传其外泌体产品,称有美容抗衰等多种功效,还违规推广收费“治疗方案”。
来源:经理人网

e701fc66-65a2-49f1-a7d3-cfa5fb5802a9.png


05 双擎并驱向新行,允英斩获近亿元战略融资!
近日,允英医疗完成B2轮融资,允英生物完成A轮融资,本轮融资将聚焦拓展允英医疗产品管线与临床布局、加速允英生物溶瘤病毒新药临床进展两大战略方向。
640?wx_fmt=jpeg&from=appmsg#imgIndex=7

允英医疗以长三角为中心辐射全国,致力于打造癌症精准诊疗生态圈,提供肿瘤精准医学一体化解决方案。其成立至今通过近百项室间质评,检验能力获美国病理学会认证,多款产品获相关认证与批准,生产管理质量体系获国际认证,已累计为超四十万例肿瘤患者提供精准检测服务,是国内肿瘤精准医疗领域开拓者,将持续为行业发展贡献力量。
来源:允英
9713e59c-0d42-4ced-b347-a7d9a93a41b7.png
回复

使用道具 举报

发表回复

您需要登录后才可以回帖 登录 | 立即注册 微信登录

本版积分规则

关闭

官方推荐 上一条 /3 下一条

快速回复 返回列表 客服中心 搜索 洽谈合作
快速回复返回顶部 返回列表