IVD企业海力特生物完成B轮融资
2024-7-23 15:16|
编辑: 鹏哥|
查看: 1431|
评论: 0|来源: 投资观健
摘要: 海力特是以功能性治愈为导向的微量精准检测技术产业化公司,聚焦重大传染病和肿瘤的极早期诊断和疗效评估。
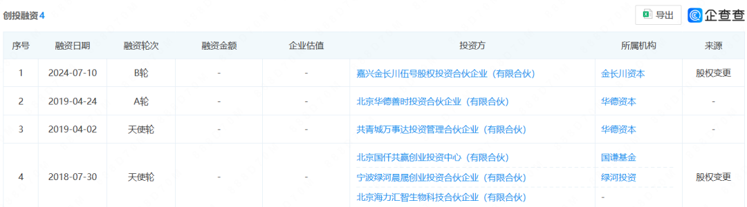
企查查官网显示,广州海力特生物科技有限公司(以下简称:海力特)近期已完成B轮融资,投资方为金长川资本。海力特是以功能性治愈为导向的微量精准检测技术产业化公司,聚焦重大传染病和肿瘤的极早期诊断和疗效评估。创立于2010年,位于广州开发区,是一家致力于研发、生产、销售高性能体外诊断产品和提供第三方体外诊断服务的新型分子生物诊断高新技术企业。 海力特依托自主研发的SUPBIO® 微量精准PCR专利技术,以中美合作科研团队为核心,研制针对传染病、高发癌症、慢性疾病等重大疾病早期筛查、疗效评估及停药诊断的新型微量精准检测试剂和仪器,致力于为医院、疾控、高校、科研单位等机构及医生和广大患者提供从筛查-早期诊断-确诊-治疗方案-疗效评估-停药标准-复发监控全过程的解决方案。根据企查查官网,海力特生物共完成4轮融资,自2018年天使轮以来吸引了国谦基金、绿河投资、华德资本等投资机构。
图源:企查查
海力特在广州科学城高新技术产业园区内拥有设备先进、技术领先的研发中心及GMP生产车间,通过GMP资格认证,建立了一整套完善的质量管理体系,获得国家医疗器械生产许可证、CFDA产品注册证,产品已进入产业化生产,并在美国设立研发中心和销售分公司。据海力特官网显示,目前海力特主要拥有四大产品系列:1、艾滋病系列:HIV-1 DNA、总核酸、HIV-1 RNA和2-LTR DNA、HIV-1 Integrated DNA等2、乙肝系列:HBV DNA、HBV cccDNA、HBV pgRNA未来海力特将持续创新领先技术,开发高性能体外诊断产品,提供体外诊断服务,助力移动医疗和精准医疗,真正实现“上医治未病”,让每一个人健康快乐地享受生活。 |
声明:
1、凡本网注明“来源:小桔灯网”的所有作品,均为本网合法拥有版权或有权使用的作品,转载需联系授权。
2、凡本网注明“来源:XXX(非小桔灯网)”的作品,均转载自其它媒体,转载目的在于传递更多信息,并不代表本网赞同其观点和对其真实性负责。其版权归原作者所有,如有侵权请联系删除。
3、所有再转载者需自行获得原作者授权并注明来源。