立即注册找回密码

QQ登录

只需一步,快速开始

微信登录

微信扫一扫,快速登录

搜索
小桔灯网 门户 资讯中心 产品杂谈 查看内容

IVD仪器液路 采样针 试剂针 穿刺针介绍

2024-2-29 14:18| 编辑: 沙糖桔| 查看: 2733| 评论: 0|来源: 阿道流体

摘要: 采样针/试剂针,其实就是加工成特定尺寸的金属管。

上一篇“IVD仪器液路 集成式空气移液泵和Tip头”介绍了集成式空气移液泵+Tip头方式的吸液、移液方案,另外一类比较常见的吸液、移液方案,是使用采样针/试剂针。

图片来源:深圳市恒永达科技股份有限公司

采样针/试剂针,其实就是加工成特定尺寸的金属管。因为不锈钢材质价格便宜且性能优异,所以针以不锈钢材质的居多。

有些公司宣称使用MP35N(镍---钼合金)材质的采样针,这种材质在生物相容性上表现更好,部分机械性能也比不锈钢更优异,但相应的加工难度、价格等也更高。

当然还有一些仪器中,直接使用塑料硬管(“IVD仪器液路常用管子介绍”)做“针”。如Siemens公司的Advia 2120i血细胞分析仪的开口采样模式,直接使用Teflon管做“针”。

Cytek North Light全光谱流式细胞仪使用Peek材质的硬管,作为进样针。

也有专门做Peek“针”的厂家。

不同于Tip头的一次性使用,采样针/试剂针是重复使用。为了降低携带污染(“IVD仪器携带污染简单介绍”),采样针内外表面光洁度要求都非常高,比如内表面进行镜面处理。

图片来源:深圳市大川流体控制技术有限公司

降低携带污染的另外一种方式,就是针表面增加特殊涂层。

对于开口或闭口的样本/试剂管,针分为穿刺针和非穿刺针。穿刺针可以刺破比如采血管的橡胶塞管帽,在不打开样本管管帽的情况下,吸到样本或试剂。

穿刺针在血细胞分析仪、糖化血红蛋白分析仪等测试全血的仪器中,比较常见。穿刺针的针头往往是非常尖锐的,以便进行穿刺。针头的吸液小孔,有的设计在针的正下方,有的设计在针的侧壁上。吸液小孔在侧壁上,相应的可以降低一些针孔堵塞的概率。

而带管帽的闭口的样本管,内部往往还有一些残留负压(真空采血管内的负压,是用来将患者的血吸入管内),吸样前需要进行压力平衡。当然,吸样过程中也需要气压平衡。

实现样本管内气压平衡,主要有两种方案。一种方案是针采用双孔针,一个孔和大气或气源导通,用于平衡气压,另外一个孔用于吸取液体。如SysmexXE系列血细胞分析仪的穿刺针,是两根钢管焊接在一起,有两个孔。

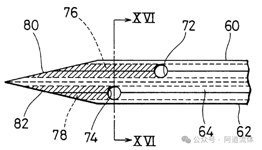
另外一种方案,是在针的外表面上开槽。当针穿入管帽橡胶塞时,针表面的槽,平衡掉试管内部的压力。如下面Tecan的穿刺针外壁开槽的专利(下图是从针尖方向顺着针看的视角,4为针外壁通气槽)。

还有一种形式的穿刺针,是穿刺用的针内径更大,将吸样用的针套在穿刺针内部。穿刺用的针先穿破瓶盖胶塞,然后吸样用的针从穿刺针的内孔进入样本管,进行吸样。

也有穿刺和吸样是完全独立的两根针的设计。穿刺针是实心的,针尖刃口比较锋利,先在胶塞瓶盖上刺戳一次,它可以对瓶盖胶塞造成比较大的创口。然后穿刺针拔出。再用吸样针从前面造成的创口进入采样管。

穿刺针需要不停地穿刺橡胶塞样本管盖,时间久了之后,随着穿刺次数的增加,针可能出现磨损、钝化、针孔变形等。这种情况就需要及时进行更换,以免影响测试结果。其实这些情况下,针就变成了耗材。仪器内部往往会记录针的穿刺次数或使用时间,以及时提醒用户进行更换。

针往往需要通过管路和加样用的精密泵连接在仪器,所以很多针都设计了连接管路的接头,便于拆装、更换。当然,有些对携带污染要求较高的场景,样本、试剂等液体,尽量都停留在针内部,
而不要经过接头。针的长度、孔径等参数的值在设定时,就要考虑让针的内容积要足够,保证试剂或样本不要到达接头区域。

针用来吸取样本或试剂,那么针尖的性状,可能会影响样本或试剂的死体积量(最小量);针尖的形状,也可能影响分配样本或试剂时的加样精度。

有些针为了满足液路系统的需求,还集成了加热、电容式液面探测等功能。

除了用于吸样本、吸试剂的针,还有冲洗针、洗涤针等,这类针的要求相对会低一些。

样本针/试剂针的一些主要生产厂家如下:

以上内容来源阿道流体,大家多多关注。

声明:
1、凡本网注明“来源:小桔灯网”的所有作品,均为本网合法拥有版权或有权使用的作品,转载需联系授权。
2、凡本网注明“来源:XXX(非小桔灯网)”的作品,均转载自其它媒体,转载目的在于传递更多信息,并不代表本网赞同其观点和对其真实性负责。其版权归原作者所有,如有侵权请联系删除。
3、所有再转载者需自行获得原作者授权并注明来源。

最新评论

关闭

官方推荐 上一条 /3 下一条

客服中心 搜索 洽谈合作
返回顶部