立即注册找回密码

QQ登录

只需一步,快速开始

微信登录

微信扫一扫,快速登录

搜索
小桔灯网 门户 资讯中心 企业动态 查看内容

IVD企业,打官司要账!

2023-12-12 15:00| 编辑: 沙糖桔| 查看: 2103| 评论: 0|来源: IVD资讯

摘要: 新年要旧账,便是困扰在各个IVD企业上的一件大事。


IVD资讯原创整理,参考公司3季报、企查查

新冠疫情,带来了不少IVD企业的检测红利,也带来了检测结束后的一地鸡毛。不仅是国内、国外的IVD企业,因为疫情的结束,导至业绩大跌、裁员、破产的比比皆是。

新年要旧账,便是困扰在各个IVD企业上的一件大事。

从链条上讲,IVD生产企业欠上游原料供应商的,商贸公司或检验所欠生产企业的,医院或政府欠医检所的。

前面环节,协商不成还可以打官司解决,和政府采购及医院之间,很多企业就只能加强催收了。

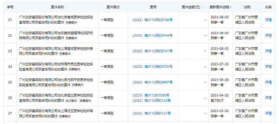
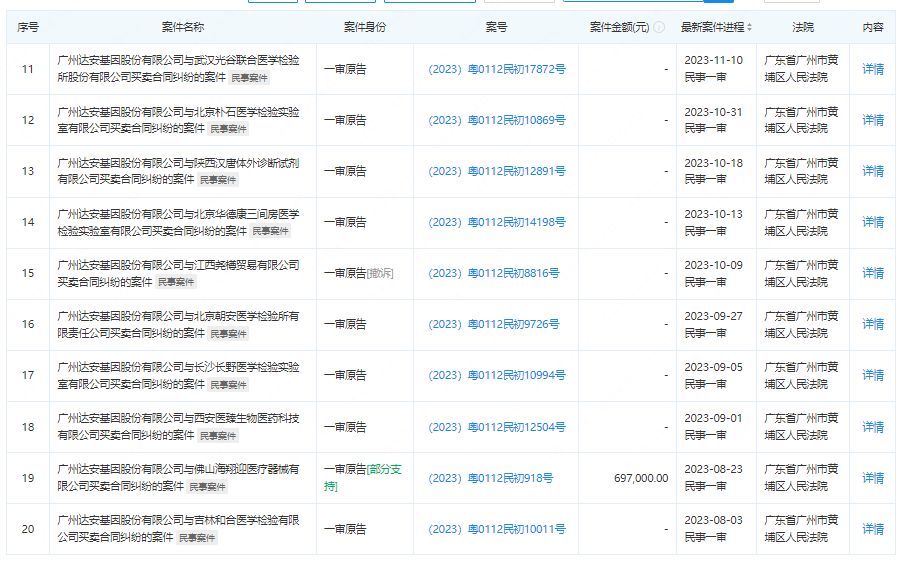
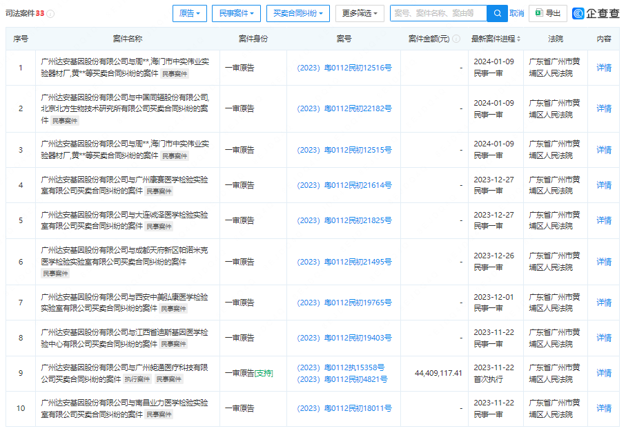
IVD生产型的代表企业,比如达安、明德等,因为合同纠纷,把供应商告上法庭的真不少,企查查一搜就能看到。

达安基因截止到3季度应收账款有24.8亿,涉诉案件较多:


明德生物截止到3季度应收账款15.6亿元,涉诉案件:


但第三方检测公司,涉及的合同诉讼案件较少,但也背着不小的应收账款压力。

迪安诊断应收账款93.9亿。

前三季度实现营业收入102.92亿元同比下降34.15%归属于上市公司股东的净利润5.31亿元同比下降78.13%。


金域医学应收账款60.3亿。

前三季度金域医学营收达63.1亿元归母净利润达5.76亿元其中常规医学检测服务收入为58.91亿元同比增长16.65%。


凯普生物应收账款22.5亿。

2023年前三季度公司实现营收8.51亿元同比减少80.03%归属于上市公司股东的净利润1.72亿元同比减少88.44%


华大基因应收账款15.2亿

公司前三季度实现营收31.43亿元扣非净利润8653.80万元。

声明:
1、凡本网注明“来源:小桔灯网”的所有作品,均为本网合法拥有版权或有权使用的作品,转载需联系授权。
2、凡本网注明“来源:XXX(非小桔灯网)”的作品,均转载自其它媒体,转载目的在于传递更多信息,并不代表本网赞同其观点和对其真实性负责。其版权归原作者所有,如有侵权请联系删除。
3、所有再转载者需自行获得原作者授权并注明来源。

最新评论

关闭

官方推荐 上一条 /3 下一条

客服中心 搜索 洽谈合作
返回顶部