立即注册找回密码

QQ登录

只需一步,快速开始

微信登录

微信扫一扫,快速登录

搜索
小桔灯网 门户 资讯中心 肿瘤诊疗 查看内容

未来已来,基于DNA甲基化的肿瘤早期检测时代!

2022-10-29 09:35| 编辑: 小桔灯网| 查看: 8011| 评论: 0|来源: 分子诊断IVD

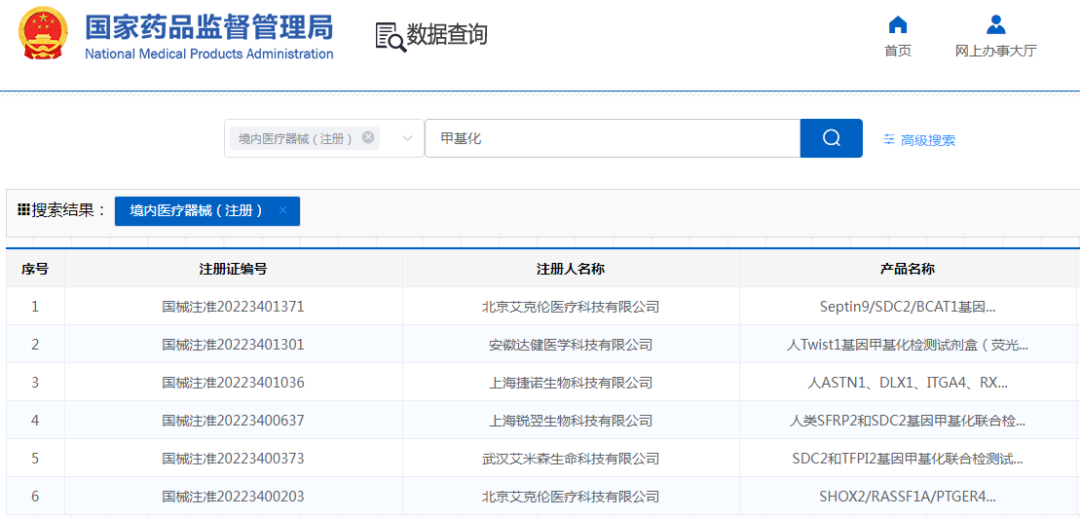
摘要: 星星之火,可以燎原2015年,博尔诚(北京)科技有限公司研发的Septin9基因甲基化检测试剂盒(PCR荧光探针法)拉开了国内肿瘤甲基化检测的序幕。截止2022年10月,NMPA数据库中共有15款DNA甲基化产品获批。甲基化试剂 ...


星星之火,可以燎原

2015年,博尔诚(北京)科技有限公司研发的Septin9基因甲基化检测试剂盒(PCR荧光探针法)拉开了国内肿瘤甲基化检测的序幕。截止2022年10月,NMPA数据库中共有15DNA甲基化产品获批


甲基化试剂目前只是众多IVD产品中的繁星一点。但2022年,对于肿瘤甲基化检测行业是极不平凡的一年。截止10月,本年度已批准了6肿瘤甲基化检测试剂盒。这些已批准试剂盒中,有多个都是国内或国际首创。2022年度仅剩2个月,接下来会不会有其它甲基化试剂获批?我们拭目以待。


好产品“好吃不怕晚”

肿瘤甲基化检测试剂盒注册难度大基本上是行业内的共识。甲基化项目研发周期长,失败率高;临床试验周期长、费用高。今年获批的多个甲基化试剂盒早在2020年就开始了注册申报,其研发最早可追诉至2016年。


对于常规三类分子诊断试剂,如基因多态性和病原体检测产品,临床试验启动到获证一般约2年时间。而肿瘤甲基化检测产品,由于样本难获得,这个周期往往长达3~4年。如果考虑产品研发周期,整个产品从研发到上市的时间可能长达4~6年。如果没有“好吃不怕晚”的耐心,很难在甲基化检测领域有所突破。特别是目前,结直肠癌甲基化检测已进入三基因联合检测的新时代。


持续精进,戒骄戒躁

甲基化是癌症发生中的早期分子事件。近年来,随着DNA甲基化分析技术和临床转化研究的突破,DNA甲基化也被认为是目前最有前景的癌症早筛指标。前途是光明的,道路是曲折的。让我们继续坚定信心、戒骄戒躁、砥砺前行。



声明:
1、凡本网注明“来源:小桔灯网”的所有作品,均为本网合法拥有版权或有权使用的作品,转载需联系授权。
2、凡本网注明“来源:XXX(非小桔灯网)”的作品,均转载自其它媒体,转载目的在于传递更多信息,并不代表本网赞同其观点和对其真实性负责。其版权归原作者所有,如有侵权请联系删除。
3、所有再转载者需自行获得原作者授权并注明来源。

最新评论

关闭

官方推荐 上一条 /3 下一条

客服中心 搜索 洽谈合作
返回顶部