立即注册找回密码

QQ登录

只需一步,快速开始

微信登录

微信扫一扫,快速登录

搜索
小桔灯网 门户 资讯中心 企业动态 查看内容

安图生物全资控股医学质控知名企业!

2025-10-27 14:36| 编辑: 鹏哥| 查看: 379| 评论: 0|来源: 企查查、国家药监局、IVD从业者网

摘要: 展现了强大的研发实力和市场认可度。
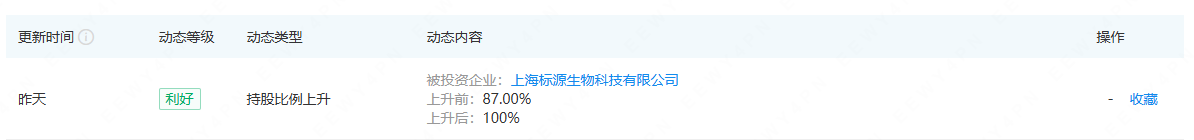
据企查查数据显示,安图生物在子公司上海标源生物科技有限公司的持股比例,从87%上升至100%,原个人股东张健、訾凯退出!

标源生物专注于医学实验室质量管理能力的提升,是一家集研发、生产、服务于一体的第三方质控品企业,为医学实验室提供全方位的服务。
公司连续多年稳居国产第三方质控品牌的前列,质量控制产品和服务广泛应用于各级医疗机构的临床实验室和国家、省市各级临床检验中心,是国内室内质控和室间质评业务的主要供应商之一,已成为业界公认的中国第三方质控的知名品牌。
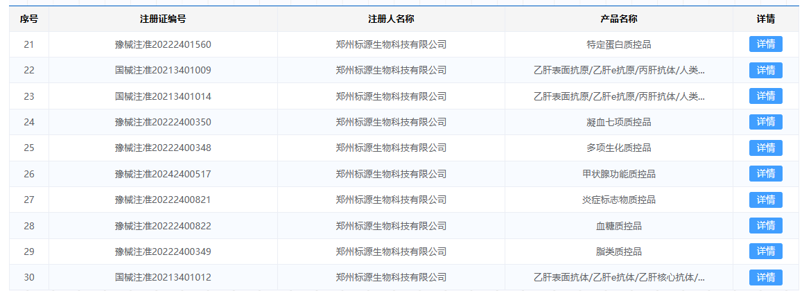
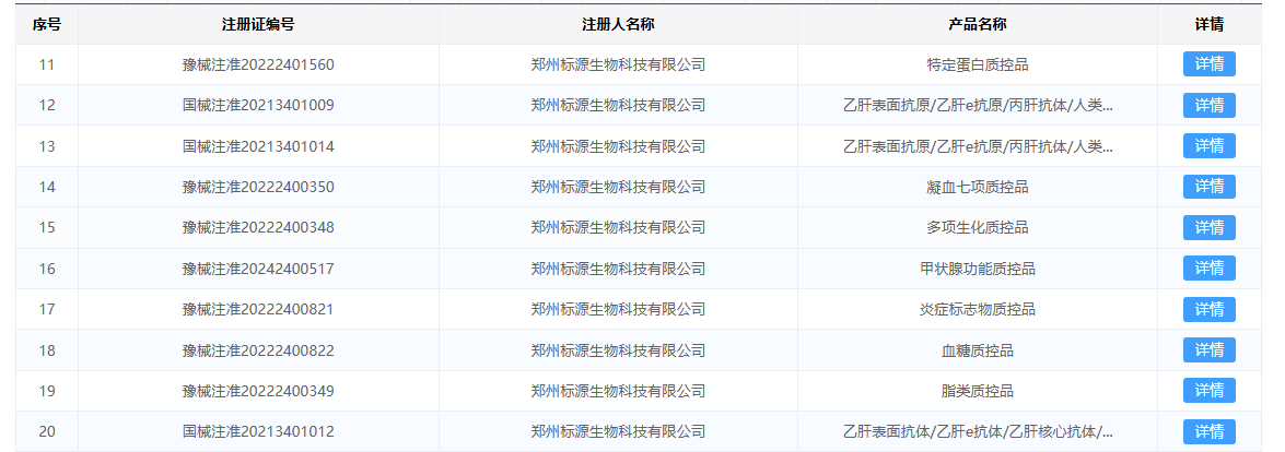
据国家药监局官网显示,目前标源生物已备案的质控品系列产品多达30项,其中9项为国家三类证,21项为二类证。

来源:企查查、国家药监局
声明:
1、凡本网注明“来源:小桔灯网”的所有作品,均为本网合法拥有版权或有权使用的作品,转载需联系授权。
2、凡本网注明“来源:XXX(非小桔灯网)”的作品,均转载自其它媒体,转载目的在于传递更多信息,并不代表本网赞同其观点和对其真实性负责。其版权归原作者所有,如有侵权请联系删除。
3、所有再转载者需自行获得原作者授权并注明来源。

最新评论

关闭

官方推荐 上一条 /3 下一条

客服中心 搜索 官方QQ群 洽谈合作
返回顶部