立即注册找回密码

QQ登录

只需一步,快速开始

微信登录

微信扫一扫,快速登录

搜索
小桔灯网 门户 资讯中心 企业动态 查看内容

一口气告9家子公司!硕世生物与和合医学检验所“全面开战” ...

2024-5-16 10:35| 编辑: 鹏哥| 查看: 1806| 评论: 0|来源: 企查查、IVD从业者网编译

摘要: 硕世生物除了和合医学系列的合同纠纷外,与其他多家检验所也存在买卖合同纠纷

近日,企查查显示,江苏硕世生物与广西和合医学检验实验室有限公司吉林和合医学检验有限公司、黑龙江和合医学检验实验室有限公司、沈阳和合医学检验所有限公司、昆明和合医学检验所有限公司、合肥和合医学检验所有限公司、石家庄和合医学检验实验室有限公司、苏州和合医学检验有限公司、长沙和合医学检验实验室有限公司等因为买卖合同纠纷,对簿公堂。

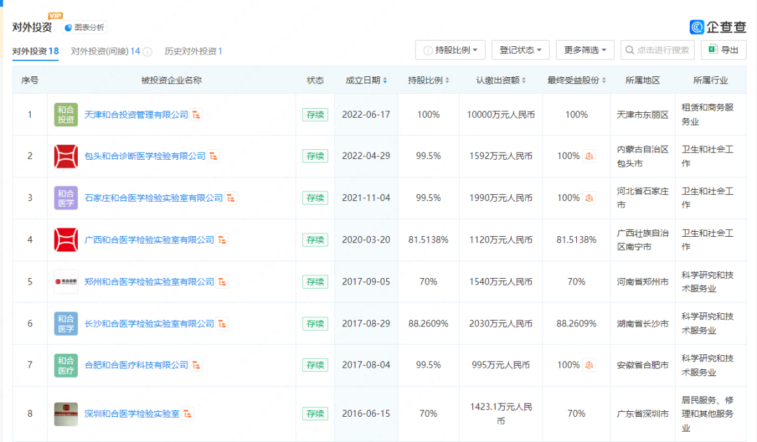
北京和合医学检验所有限公司成立于2010年9月7日由北京国立柏林医学科技发展有限公司设立,注册资本4500万元人民币。是国家卫生部2009年12月印发《医学检验所基本标准(试行)》以来,北京市卫生局批准的第一家专业从事第三方检验的临床医学检验所。旗下检验所多达10余家,这些检验所子公司多成立于2014-2017年之间,是国内较早布局第三方检验所市场的公司之一。

硕世生物一连将和合医学系9家区域检验所子公司告上法庭,首先可以看出和合医学目前的资金状态不是很好,其次也能预估出硕世生物与和合医学的涉案合同金额不在少数。

此前,硕世生物(688399.SH)披露2023年年度报告,该公司报告期实现营业收入4.03亿元,同比下降92.72%。归属于上市公司股东的净亏损3.74亿元,归属于上市公司股东的扣除非经常性损益的净亏损4.29亿元,同比由盈转亏。

从应收账款来看,硕世生物目前仍有1.08亿元的账款尚未收回,在核酸检测企业中,硕世生物的应收账款是最少的企业之一了。

无独有偶,除了硕世生物,其他核酸检测企业也有类似情况。

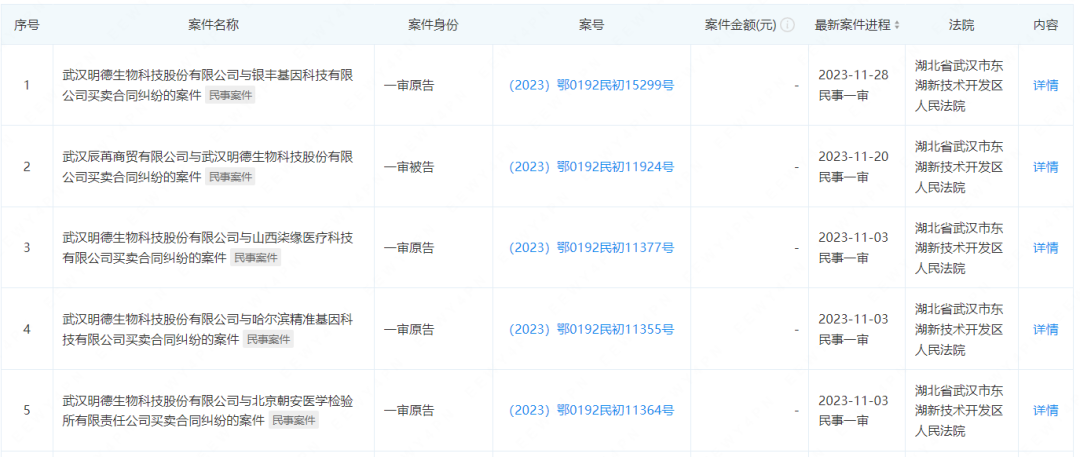
据企查查数据显示,武汉明德生物去年11月有5个合同纠纷进入民事一审,买卖合同纠纷方分别是银丰基因科技、武汉辰苒商贸、山西柒缘医疗、哈尔滨精准基因、北京朝安医学检验所、黑龙江精卫医学检验实验室等。

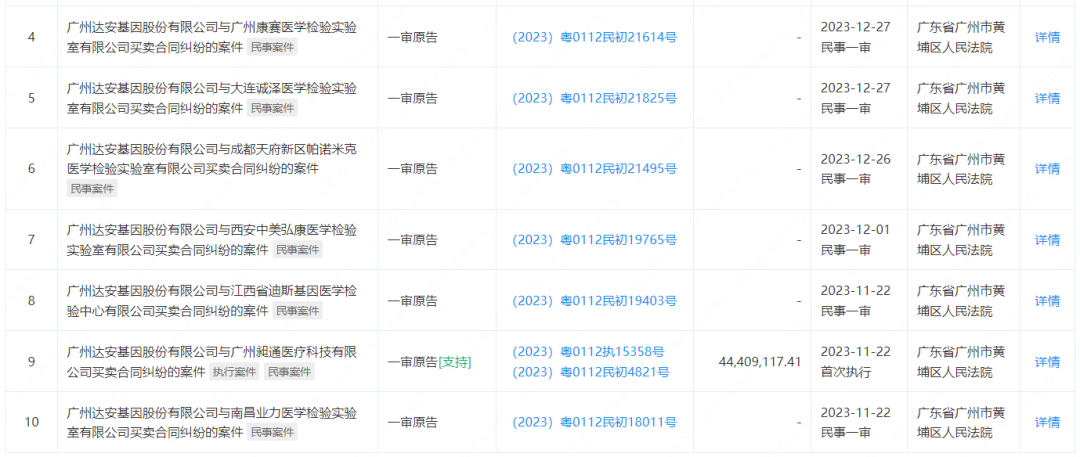
作为国内新冠核酸检测龙头企业的达安基因也是深陷要账泥潭,自23年4月起已与上海泛亚检验所、北京星云检验所、北京方圆平安检验所、珠海思达医学检验所、上海度微检验所、北京奎克检验所、吉林和合检验所、北京金准检验所、长沙长野检验所、北京朝安检验所、北京华德康三间房检验所、北京朴石检验所、武汉光谷联合检验所、南昌业力检验所、江西迪斯基因检验所、西安中美弘康医学检验实验室、成都天府新区帕诺米克医学检验实验室、大连诚泽医学检验实验室、广州康赛医学检验实验室等多家检验所因为买卖合同纠纷对簿公堂。

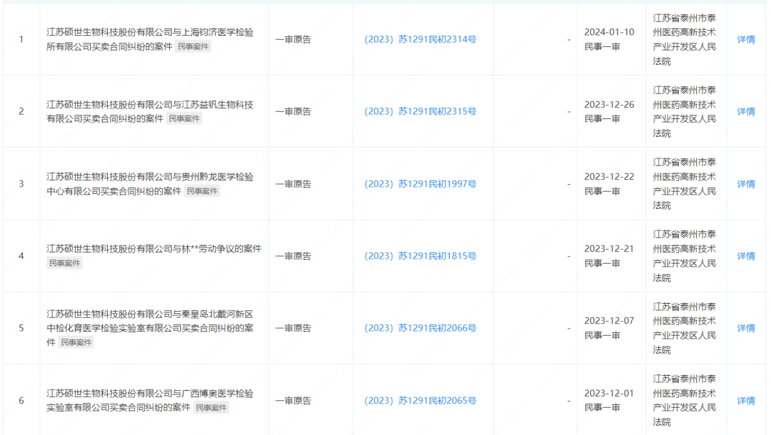
硕世生物除了和合医学系列的合同纠纷外,与其他多家检验所也存在买卖合同纠纷,涉及上海钧济医学检验所、贵州黔龙医学检验中心、秦皇岛北戴河新区中检化育医学检验实验室、广西博奥医学检验实验室、南京中润医学检验、黑龙江精卫医学检验实验室、成都久欣医学检验、成都凡迪医学检验所、上海探洇医学检验实验室、乐山道可名康医学检验实验室、泸州道可名康医学检验实验室、上海塞力斯医学检验实验室、上海裕隆医学检验所、上海裕隆神光医学检验实验室等。

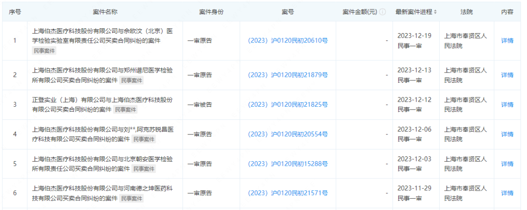
作为新冠核酸检测领域的黑马,上海伯杰生物的检索数据显示,其与佘欧汶(北京)医学检验实验室、郑州谱尼医学检验所、北京朝安医学检验所等同样存在一定的买卖合同纠纷。

同样做为即得红利者,上海之江生物圣湘生物、凯普生物等在买卖合同方面的纠纷几乎没有。

这种差异的来源,有可能是销售模式和账期等销售管理的方式差异,也有可能是面对买卖合同纠纷的处理方式差异导至的。

声明:
1、凡本网注明“来源:小桔灯网”的所有作品,均为本网合法拥有版权或有权使用的作品,转载需联系授权。
2、凡本网注明“来源:XXX(非小桔灯网)”的作品,均转载自其它媒体,转载目的在于传递更多信息,并不代表本网赞同其观点和对其真实性负责。其版权归原作者所有,如有侵权请联系删除。
3、所有再转载者需自行获得原作者授权并注明来源。

最新评论

关闭

官方推荐 上一条 /3 下一条

客服中心 搜索 洽谈合作
返回顶部