百年成长路——雅培
2024-4-10 15:45|
编辑: 沙糖桔|
查看: 2573|
评论: 0|来源: 老和山下说IVD | 作者:浮世六七千
摘要: 接下来我们带大家回顾一下医疗巨头-雅培的发展简史
雅培Abbott(NYSE:ABT)是一家业务广泛的全球医疗保健公司,由华莱士·C·雅培博士于1888年成立,总部在美国芝加哥。时至今日,雅培公司历经百年发展,已与罗氏、丹纳赫、西门子并称为IVD行业前四强,是目前大家公认全球排名第二的IVD企业,仅此于罗氏。如今的雅培已是一家医药及营养产品多元化的世界500强企业,其业务遍及世界160多个国家和地区,员工人数达115000余人(中国拥有6000多名员工,总部在上海),旗下产品涉及营养品、药品、医疗器械、诊断仪器及试剂领域。
 百年风雨,百年发展,雅培在不断实现自主创新的同时,采取了并购的策略来不断拓展其在医疗保健领域的业务以及影响力,使得雅培在百年变局中稳步发展,始终傲立于医疗保健领域前沿,接下来我们带大家回顾一下医疗巨头-雅培的发展简史。 1. 小药厂的崛起之路(1888年-1952年) 雅培创始人华莱士·C·雅培博士1885年毕业于中央密歇根大学,毕业后雅培博士成为一名执业医师。在从业期间雅培博士是一个具有创新能力和商业头脑的人,敏锐察觉到当时药物一般是液体的形式,这就导至药物会出现容易变质不好保存等一系列问题,为此雅培博士在芝加哥的一个小房子里面成立雅培药厂自己生产固体药丸,开启了日后跻身世界500强的国际医疗巨头雅培的创业之路。
 1888年,30岁的雅培博士在芝加哥成立属于自己的雅培药厂,依靠制成“剂量颗粒”的药物赚到第一桶金,头一年的销售额就高达2000美金。1894年,成立雅培生物碱公司,同年,雅培博士出版了《Alkaloidal Clinic》杂志。1905年,雅培年销售额逾20w美元,当时FDA尚未成立,导至新药不需要审批,此时的雅培新产品数量高达700多种。1907年,雅培首次将公司业务拓展到美国市场以外,并在英国伦敦、加拿大多伦多设立办事处,甚至部分产品通过经销商销往欧洲和印度。1916年,随着一战爆发,雅培转移研发重心至合成药物并推出第一款具有突破性意义的抗菌药物Chlorazene,该药物是主要用于治疗战时受伤士兵。1922年,Ernest Volwiler博士与Roger Adams共同开发出第一款麻醉剂Butyn(丁烷),标志着雅培公司开始进入麻醉领域。1929年,雅培在经济大萧条时期发行股票,股价持续上涨。1933年,雅培积极创新产品,研发了多款麻醉、青霉素等产品。1935年,雅培推出麻醉剂硫喷妥钠(Pentothal),该产品使得其发明人Volwiler以及Donalee Tabern博士进入美国发明家名人堂。1942年,雅培加入药厂联盟,参与战时青霉素的生产,在联盟成员的共同努力下,将青霉素产量增加超过20000%。1952年,推出抗生素产品红霉素Erythrocin。2. 小药厂雅培转型之路(1964年-1995年) 雅培早期通过生物碱类药物实现营收,随着战争爆发,产品销量下降,雅培顺应局势发展把握时机,将研发重心转向合成药物并推出一系列的麻醉以及抗生素产品,这使得雅培迈上了崛起之路,但随着二战之后,各家药企争相进入麻醉和抗生素领域,这就使得雅培的传统优势受到威胁,时任总裁清晰的认识到想要将雅培做成全球巨头企业必须采用多元化经营模式才能在历史洪流中长盛不衰,正是这一决定,开启了雅培的崭新征程。
 1964年,雅培收购M&R Dietetics,从而获得畅销婴儿配方奶粉Similac的生产经营权,一跃成为全球营养品龙头企业。1966年,雅培研制了Isomil婴儿奶粉,该奶粉能为具有牛奶蛋白过敏反应的婴儿补充营养。1972年,雅培推出用于检测血清中肝炎病菌的产品ABA-100血液化学分析仪和Ausria,标志着雅培正式开启现代诊断业务。1985年,雅培推出由FDA批准的第一项血液检测HIV病毒技术。1986年,雅培推出70余种新诊断产品,其中就包括可以快速诊断链球菌性喉炎、衣原体和病毒感染等症状的TestPack。1987年,雅培推出IMx血液分析仪以及癌症、心脏疾病、贫血、肝炎等病症的测试法。1991年,雅培推出第一个监测PSA 的自动化测试技术,用以筛查前列腺癌。1994 年,雅培推出AxSYM免疫分析诊断系统,该系统可处理超过85 种免疫测定分析。3. 医疗巨头雅培的大踏步扩张之路(1996-2020年) 雅培通过几次并购,实现了业务领域的拓展,从合成药物到营养品再到医疗器械、现代诊断,让雅培成为众多领域的领导者,而真正让雅培成为国际医疗巨头的阶段是处于1996年到2020年,这一阶段,雅培果断出手并购诸多细分领域公司,实现了飞跃式的成长。
 1996 年,雅培以8.67亿美元收购血糖仪制造商MediSense,同年研制的蛋白酶抑制剂 Norvir获得美国FDA批准。雅培凭该成果荣获医药行业的最高科技荣誉—Prix Galien 大奖。1997年,雅培斥资2亿美元收购赛诺菲美国子公司的大输液产品线。1999年,雅培斥资6.8亿美元收购了Perclose,正式进入心血管器械市场。2000年,雅培以69亿美元收购Knoll制药公司,布局免疫学研发。2002年,雅培研制的修美乐(Humira,完全人源单克隆抗体药物)获得美国FDA认证。同年,雅培收购Vysis,进入分子诊断领域。2002 年,雅培收购英国的Biocompatibles International的心血管支架业务。2003年,雅培收购TheraSense血糖仪公司,巩固了雅培在全球血糖测量系统的地位。同年,雅培收购ZonePerfect公司,正式进军保健营养品市场。2006年,雅培收购心血管器械制造商Guidant Corp的血管和血管内疾病治疗业务。2013年,雅培拆分为两大医疗健康公司,雅培和艾伯维(AbbVie)。同年,雅培共耗资5.6亿美元收购Idev Technologies和OptiMedica,前者专注于冠状动脉植入物,后者专注于激光辅助眼科手术。2014年,雅培推出连续血糖监测系统FreeStyle Libre。2016年,雅培推出Alinity免疫诊断系统。同年,雅培唯一一个整合营养及诊断两大业务的研发中心—中国研发中心正式启用。2017年,雅培收购了St. Jude Medical,成为心血管和神经调节领域的领导者。同年,雅培收购了美艾利尔公司Alere Inc.,成为床旁诊断技术领域的领导者。4. 医疗巨头雅培的新征程(2020-至今) 2020年新冠病毒爆发后,雅培迅速推出新冠相关检测服务,从高通量核酸检测试剂到现场的即时检测均能看到雅培的影子。疫情期间,雅培不仅开展新冠检测相关服务,也在其他产品线上加快研发速度,顺势推出一系列产品,比如新一代网状磁电定位标测导管,FreeStyleLibreLink APP、Amplatzer Amulet经导管左心耳封堵器、XIENCE Skypoint支架、TAVI系统Navitor等等。疫情过后,雅培审时度势,重击出手于2023年收购2023年全球知名械企Bigfoot Biomedical,进一步奠定在糖尿病护理的霸主地位。 130多年来,雅培始终坚持自主创新、并购重组双轮驱动,成长为如今的国际医疗巨头。雅培作为诸多细分领域的龙头企业,有着诸多创新性的诊断产品,比如:1. Abbott i-STAT System 作为即时诊断代表作品i-STAT 系统广泛应用于床旁诊断,该系统主要由芯片和分析仪组成。芯片采用先进的纳米技术和微流体技术所制成,将复杂的检测原理整合到芯片上并制成卡片,在通过点样于血液分析仪上,就能实现对血液中血气、电解质、凝血、生化及心脏标志物等检测。

1.1 手持式血液分析仪(i-STAT 1 Portable Clinical analyzer) ①加样标本17-95μl,标本类型可以是动脉血、静脉血、毛细管血/手指血;②插入相应的检测卡片,每张卡片都有三个不同水平的质控品,且每张卡片中都含有定标液,每次检测均会执行单点定标,内外都有电子质控系统从而保证检测结果的准确性。③手持血液分析仪进行结果判断,可进行红外数据传输或者连接打印机进行数据结果打印。多数项目2-3分钟即可获得结果,大大缩短检测时间。1.2 i-STAT系统优势 该平台因手持分析仪可插入卡片不同,可进行二十多个项目检测,全面了解病人的病情,此外系统无缝连接HIS、LIS系统,不仅能够动态显示检测结果曲线随时监控病情而且便于结果数据的保存、传输。更值得一提的是,该集成系统简单便携,采用先进的定标质控技术确保检测结果的准确性。


2. ID NOW平台 2017年,美艾利尔(Alere)公司以53亿美元价格于2017年被雅培收购,随后雅培重新包装Alere i平台推出ID NOW平台技术。自从新冠疫情全球爆发以来,全球医疗厂商纷纷开展核酸检测相关业务,当时雅培就以ID NOW平台成为当时的一匹黑马,推出的ID NOW-COVID-19产品,据称5min能检测出新冠阳性结果,引得全球媒体争相报导,但是由于疫情迅猛感染人数剧增,ID NOW检测通量有限所以并没有全球范围推广。目前雅培ID NOW平台已推出包括A群链球菌、RSV、甲乙型流感病毒的核酸检测在内的多款诊断产品在部分地区仍十分畅销。

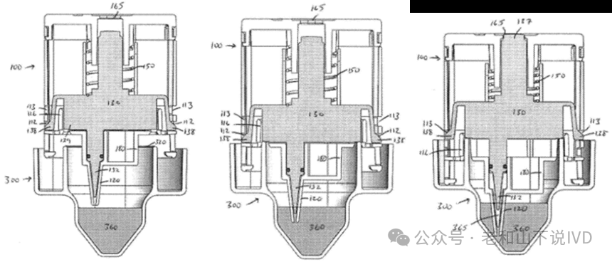
2.1 ID NOW技术原理 ID NOW采用的是切口延伸扩增技术(NEAR技术),该技术不同于RPA(EXRPA),NEAR是在切刻酶在核酸切口形成的裂口处,通过聚合酶作用延伸,置换出等位的DNA链,由此形成了新的含有切刻酶识别位点的DNA序列,随后双链被切刻酶识别,进行聚合-切刻的循环,从而形成指数级扩增。2.2 ID NOW装置组成 整个系统主要包括三个组件,转运设备100,扩增室200,洗涤容器300,每一个组件都是能与其他两个组件相匹配的D型非对称横截面,ID NOW平台进行工作的最重要的两个过程就是样品收集和液体转运过程,如下将详细描述。

2.2.1 ID NOW样品收集 下图展示了ID NOW从样品管收集样品时的系统横截面,转运设备100被往下按压进入洗脱室300时,其活塞部件130通过法兰盘139与导向环320对抗接触而保持静止,同时转运设备壳体110的向下运动引起移液头120相对于活塞头132向下移动,并拉动部分流体样品进入移液头120中,这就完成了流体样品360的收集。

2.2.2 样品转移过程 下图展示的是样品转运调配时的系统横截面。转运转运设备100被按压至扩增室200的上面,扩增室215部分插入转运设备100的凹槽113中,替代活塞部件138.同时,移液头120刺穿微型管220的密封件228,这样就可以将流体样品365释放到微型管220中,流体可以溶解微球或者干粉280,启动反应,整个过程中的流体转运和释放是通过弹簧150进行的。

3. 全新一代Alinity c生化检测平台 雅培开发出的Alinity C series采用立体堆叠式设计,单模块长度仅1.19米,共有70个试剂位,检测速度1350 test/h,光学速度达900 test/h,离子速度为675 test/h,且组成的模块可增加至4模块,更加值得一提的是该仪器具备智能清洗系统,众所周知,自建检测系统在进行项目间的测定时容易携带污染,且难以对项目间的遍历交叉污染进行评估,从而导至检测结果经常出现误差,影响质控。为解决上述问题,雅培推出全新一代Alinity c-series自携带智能清洗功能,该功能能对样品针、试剂针和比色杯进行额外清洗,可以有效降低项目间的携带污染。
3.1 智能清洗系统功能评估 为了验证Alinity c-series所携带的智能清洗系统的工作性能,验证在该设备上进行不同项目检测,其项目间的携带污染是否低于0.1ppm。3.1.1验证方法 实验采用3个独立的Alinity c系统并使用HBsAg溶液作为阳性样品。随后依次对1个阳性样品,3个阴性样品试剂分别执行15次检测。检测完成后,在ARCHITECT i2000SR系统上检测阴性样品的HBsAg。取3种浓度(分别为0.10 ppm、1 ppm和10 ppm)的系列稀释液的中位数的平均值减去两个标准差的总和来确定阈值,公式如下:
 然后,将阴性样品结果与确定的阈值进行比较,以检测携带污染。
3.1.2 检测结果

3.1.3实验结论 项目间的携带污染一直是造成检测误差偏大的原因之一,这会直接影响产品质控,更有甚者会对临床医生予以错误引导,因此消除项目间的携带污染一直是生化检测系统的需要攻克的难题。雅培将SmartWash智能清洗专利技术结合生化检测推出Alinity c-series,该设备能有效防止项目间样品间的携带污染,保证样品检测结果准确。

截至2023年12月31日,雅培2023年总营收为401亿美元,同比下降-8.12%,其中诊断产品营收99.88亿美元,占当年总营收24.9%,医疗器械营收168.9亿美元,占当年总营收的42.1%,而2022年总营收436.5亿美元,同比2021年总营收增加1.34%,2022年,诊断产品总营收为165.8亿美元,占2022年总营收37.99%,医疗器械营收146.9亿美元,占2022年总营收的33.6%。美国为雅培的主要销售市场,2022年,美国地区销售额达181.4亿美元,占当年的总营收的41.56%,而2023年美国地区的销售额达154.5亿美元,占总营收的38.53%。从几年财报看,雅培营收逐年稳步增长,经历新冠病毒洗礼之后,雅培诊断业务承压,红利收缩,营收下降,但比之2020年是仍有较大涨幅,未来IVD市场会随社会经济发展而变大,作为四巨头的雅培应会有更多更好的产品惠及全球人民,守卫全球人民的健康。



[1] 雅培官网,https://www.abbott.com.cn/。[3] 雅培年报-东方财富网,http://emweb.eastmoney.com/PC_USF10/pages/index.html?code=ABT&type=web&color=w#/cwfx。[4] CN105170202 B-用于反应的系统和装置[5] 雅培核心诊断-全新一代Alinity c生化分析仪智能清洗技术有效降低携带污染。
|
声明:
1、凡本网注明“来源:小桔灯网”的所有作品,均为本网合法拥有版权或有权使用的作品,转载需联系授权。
2、凡本网注明“来源:XXX(非小桔灯网)”的作品,均转载自其它媒体,转载目的在于传递更多信息,并不代表本网赞同其观点和对其真实性负责。其版权归原作者所有,如有侵权请联系删除。
3、所有再转载者需自行获得原作者授权并注明来源。