质谱就是对“质量”进行精确检测的精密设备,质谱可以用来检测蛋白质和代谢物,也可以用来检测核酸。核酸质谱成为PCR和NGS之后的又一个分子诊断的新兴平台,也是临床诊断领域快速发展的未来平台之一。
生命的遗传物质DNA分子是由4种碱基——ATCG所构成的,每种碱基的分子质量不同。核酸质谱犹如一把高精度的天平,可区分单个碱基的质量差异(G>A>T>C)。当核酸发生变异的时候,不论是碱基的替换还是修饰,都会改变DNA的分子质量,核酸质谱通过对这种质量变化的精确分析,就能够对其进行精准的识别。
通过这种方式,核酸质谱既可以检测基因的多态性和基因的突变,也可以检测核酸的化学修饰,还能够对拷贝数变异和修饰水平等进行定量的分析。
核酸质谱主要通过多重PCR+高通量芯片+飞行时间质谱来实现核酸检测。目前核酸分析所使用的质谱电离技术主要还是采用电喷雾电离(ESI)和基质辅助激光解析电离(MALDI)。
ESI 检测的特点是生物大分子带多个电荷,质荷比范围基本在2000 Da 以下区间,从而能检测几万乃至更大的生物分子;而MALDI常得到单电荷峰,与飞行时间(TOF)分析器搭配,检测范围可以到几十万道尔顿。
20世纪80年代出现的基质辅助激光解析电离飞行时间质谱(MALDI-TOF MS)打破了以往质谱仅可进行小分子物质分析的传统,使得核酸、蛋白质等生物大分子也可应用质谱进行研究,极大推进了基因组学、蛋白质组学的发展,并且给生物领域及医学领域带来了革命性的突破。
质谱是一种功能强大的综合性技术平台,除可以进行蛋白质多肽检测、微生物鉴定、糖基化检测外,还可进行基因的SNP、突变、甲基化及CNV分析。
在药物基因组学、肿瘤分析、肿瘤液态活检、病原体检测、遗传性疾病、甲基化研究、嵌合体和血型鉴定等领域都有非常广泛的应用。
迄今为止临床上还鲜有其他检测平台可以兼顾多种组学层次的检验分析。 该领域检测方法众多。与PCR和NGS技术相比,核酸质谱有其显著的优势。
荧光定量PCR检测速度快,但是通量有限,无法方便快捷地满足临床对于多基因的数十个至数百个位点检测的需求;
而高通量测序虽然通量极高,但其检测成本高、项目检测周期长、检测的数据也需要专业的人员进行分析解读,技术门槛比较高;
核酸质谱独特的多重PCR技术,稳定准确的检测结果,经济的检测成本可满足临床越来越多对中等通量位点SNP及基因突变等定性和定量检测的需求,再加上方便快捷的DNA甲基化及CNV检测,更使得质谱在基因检测领域具有自己的特色和极大的竞争力。 与质谱的蛋白质多肽检测功能相比,其基因检测的功能还基本未在临床应用中进行开发。
随着临床实验室对质谱的了解和应用不断的加深,未来该检测平台或可成为规范实验室不可或缺的标准装备。
疫情发生后,中国医学装备协会很快就发布了四批次的《新冠肺炎疫情防治急需医学装备目录》,从目录中可以看到,每批次都有质谱的身影。
为了更好的规范和指导核酸质谱实验室,2018年3月27日,中国核酸质谱应用专家共识协助组在中华医学杂志上发表了《中国核酸质谱应用专家共识》。该指南共识主要是针对的是MALDI-TOF MS与多重PCR结合的检测方法。
美国Agena Bioscience(原Sequenom Bioscience)公司基于MALDI-TOF原理建立了核酸质谱分析系统MassARRAY®。初始型号IMPACT DxTM仪在2014年6月12日获得美国FDA认证,成为世界上首台获批用于临床检测的DNA质谱平台,也是全球唯一应用MALDI-TOF飞行时间质谱进行基因序列全方位研究与临床应用的技术平台。
MassARRAY®系统将飞行质谱的特性和多重基因检测完美的组合在一起,一次检测多达40~50个基因位点,单位成本低廉,这是其在临床应用的核心竞争力。
MassARRAY®一套系统可实现丰富的临床应用:药物基因组学(PGx)精准用药指导、肿瘤基因突变检测、靶向药用药指导、甲基化肿瘤早期筛查、遗传病筛查、肿瘤液体活检、病原体多重检测及耐药分析、病毒分子分型等。
目前,MassARRAY®核酸质谱分析系统是国际业界公认的高通量SNP基因型分析和DNA甲基化片段分析的黄金标准,同时也是大样本量验证的重要工具。
目前国内获批的MALDI质谱平台还主要集中在微生物领域,在核酸质谱领域尚无进口品牌获批。Agena核酸质谱平台未直接在国内报证,而是通过授权方式,和达瑞生物、先声诊断、迪安诊断达成战略合作,以后者名义进行设备和试剂的报证。
2016年2月,广州达瑞生物与美国AgenaBioscience结成联盟,共同合作开发基于MassARRAY核酸质谱系统在遗传病体外诊断、癌症精准医学、药物基因组等领域的整体解决方案。2018年10月,达瑞生物DRMassARRAY核酸质谱平台获得了中国NMPA批准,成为国内首项可用于临床基因检测的质谱技术。
2018年3月,先声药业旗下先声诊断和美国Agena Bioscience签署了一项战略合作伙伴协议,以开拓一套核酸质谱平台系统在中国伴随诊断和药物基因组学检测领域的产业化应用。
2018年7月,迪安诊断发布公告称,迪安诊断与美国Agena Bioscience签署战略合作协议,根据协议,双方将推动核酸质谱技术平台与多重 DNA 基因检测的诊断方案在中国市场的推广,致力于生命科学与精准医疗的临床研究与实践。
在国内,核酸质谱自研技术主要代表企业有华大基因、融智生物、毅新质谱、英盛生物等。
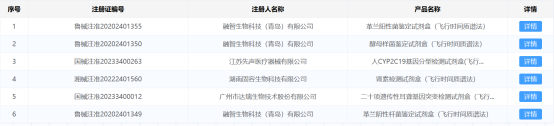
2022年3月8日,先声诊断“人CYP2C19基因分型检测试剂盒”正式获得国家药品监督管理局(NMPA)第三类医疗器械注册证(国械注准20233400263),这也是国内首个基于飞行时间质谱技术进行药物基因组检测的获证试剂盒。
2023年1月5日,达安基因控股子公司达瑞生物研发生产的“二十项遗传性耳聋基因突变检测试剂盒(飞行时间质谱法)”正式获批国家药品监督管理局(NMPA)第三类医疗器械认证,是国内首个基于飞行时间质谱技术进行耳聋基因检测的获证试剂盒,也是国内首个获得国家药监局批准的核酸质谱试剂盒。
价值昂贵、操作复杂、数据分析难度大,一直是制约质谱和NGS技术应用的关键因素,现在已经有很多头部企业在着手解决这些困境。
自动化已经是很多企业在布局的方向,罗氏诊断重点布局临床质谱,打造全自动高通量质谱流水线。国内领头企业,如华大基因、毅新质谱也都有了单机多组学的产品推出。
除了在仪器制造技术上不断迭代贴近应用端,还有需要更多结合疾病需求的应用开发。
信息来源:精准家
|