立即注册找回密码

QQ登录

只需一步,快速开始

微信登录

微信扫一扫,快速登录

搜索
小桔灯网 门户 资讯中心 专栏文章 锁炎专栏 查看内容

新冠核酸战役!为什么说“伯杰”和“明德”打的漂亮

2023-1-17 15:40| 编辑: 沙糖桔| 查看: 3238| 评论: 0|来源: IVD从业者网 | 作者:锁炎

摘要: 今天跟大家分享的两个企业就是在新冠核酸检测时代非常亮眼的黑马


新冠核酸检测的时代,已经一去不返了,但是往后很多年每每提到这段时间,都是非常值得IVD从业者们自豪的时光,当然不是因为赚了很多钱,而是在这段时间里,很多IVD企业打出了很多策略和兵法,同样是面对风口,有的企业在不遗余力的赚钱,有的企业已经借助这个机会完成了蜕变。

今天跟大家分享的两个企业就是在新冠核酸检测时代非常亮眼的黑马——伯杰医疗和明德生物

伯杰医疗—顺应市场,深耕分子诊断,漂亮转身

2020年之前,大部分做临床分子诊断行业的代理商和厂家可能没有听说过伯杰医疗,因为彼时的伯杰主要做疾控市场,对于临床市场是比较陌生的;熟悉国内分子诊断企业发家史的人基本上都知道,疾控市场往往是分子检测企业的第一站,然后随着自身实力的壮大,就会逐渐转向临床诊断市场。比如说之江生物、硕世生物、卓诚惠生等基本都是这个路径。

但是转型临床市场最大的难点,就在于得有一张有市场价值和潜力的临床注册证,之前的企业有的依靠流感核酸检测、有的依靠HPV检测、有的依靠性病检测、有的依靠肝炎检测等,总之,转型一定得有一个自己的核心市场才行

新冠疫情的出现,无疑给很多IVD企业给了一次机会,一次产生爆款产品的机会,于是伯杰医疗抓住了,拿到了新冠核酸检测试剂注册证,但进入临床市场,就意味着竞争更加激烈,有注册证只是入场券,而产品质量、售后服务、商务政策才是能走多远的关键

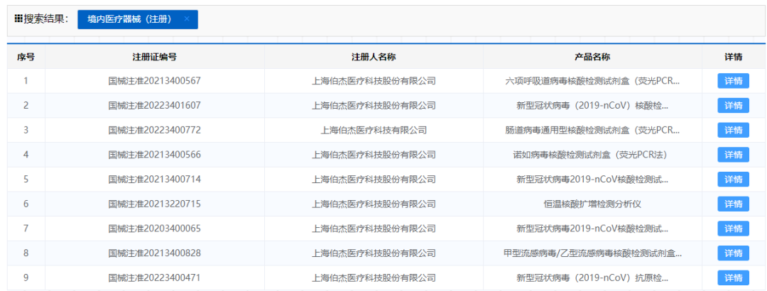
3年时间,伯杰完成了9款IVD产品的临床注册,从设备到试剂,从新冠核酸到呼吸道,肠道病毒检测,从qPCR到CRISPR;所以这里有一个概念叫“产品纵深”,意思就是说,临床产品矩阵的弹性是否满足市场的变化。


对于IVD企业而言,最重要的财富有两个:一个是有证的产品,第二个组织;伯杰在产品方面的迭代和矩阵是有目共睹的,并没有单守着新冠试剂盒这一个产品,而是以此为中心延展到了仪器、到呼吸道、到肠道等等,估计还有很多产品在路上,这种打法是非常有章法的;第二个是组织,组织可以拆解为人和流程,如何把企业运行的各个环节都比喻为“打仗”,能打胜仗,就是企业运营的目的,这里面的关键就是人和流程,人的提升需要企业和市场双方来锻炼出来,流程是需要企业自己不断内化而来。借助新冠这个风口,完成人和流程的淬炼,是比营业额多少,更值得炫耀的资本。

在这个方面,伯杰医疗是做的非常不错的,从陆续拿证的产品和市场推广的情况就能窥知一二,当然另外一家企业,圣湘生物也是做的非常不错的,当然圣湘生物吸纳了更多的行业精英人才进入自己的体系。

如果说在过去3年的新冠核酸检测时代风口下,哪家分子企业是真正的黑马?那伯杰医疗可占一席,它的与众不同在于,即便身处时代风口,依旧不忘初心,雷火炼体,终成分子诊断一代名企

明德生物—后场发力,审时度势,力克群雄

这次新冠核酸检测市场风口,很多以前不做分子诊断领域的企业也纷纷转过来做分子诊断了,其中明德生物算是一个非常成功的典型,仅凭一己之力,跻身国内新冠核酸检测市场前三,营收超百亿

明德生物的新冠核酸检测试剂的入场算是比较晚了,其主要发力是在21年和22年两年,也就是仅仅两年的时间,直接做到国内市场前三,着实是非常不错的成绩了。

有句话是这么说的,迈克生物的入场,开启了新冠价格战,但自己并没有捞到太多的好处,反而是准备充分的明德生物,稳稳的把盘子接住了。

可贵之处在于,明德生物不仅仅是一家上市企业,而在POCT领域也有着非常不错的成绩,转战一个新的领域,不仅能够做好产品,还要能做到市场领导者的地位,这就和企业的决策层以及执行力密切相关了,没有点魄力,还真的不容易。

企业涉足新的细分领域,要么收并购,要么拥有能够感知市场的决策层,无二选择。

如果说在过去3年的新冠核酸检测时代风口下,哪家分子企业是真正的黑马?那明德生物可占一席,它的与众不同在于,目标明确,决策果断,执行力强,敢为人先,拿下新冠核酸市场前三


从伯杰医疗和明德生物的案例当中我们不难发现,机会在所有人面前是不一样的,有人看到了发财的机会,有人考虑了战略的地位,有人完成自我蜕变,有人看着机会溜走。

对于2023年及以后而言,也许诸如新冠核酸检测一样的时代风口,很难再出现,我们也终将回归到以前那种“一个山头一个山头的攻占”的市场,行业的发展速度也会逐渐降低,等待下一个引爆点,任何行业都是这个规律,总要先积蓄能量,然后等一个窗口,然后飞起来,进入一个新的台阶,然后继续积蓄能量,再等下一个风口。

因此不管对于IVD企业也好,还是对于IVD从业者个人也好,跟着行业规律一起振动,我们也终将找到自己的振幅。

2023年,我们一起加油!

以上仅代表作者锁炎的个人观点,欢迎留言交流

声明:
1、凡本网注明“来源:小桔灯网”的所有作品,均为本网合法拥有版权或有权使用的作品,转载需联系授权。
2、凡本网注明“来源:XXX(非小桔灯网)”的作品,均转载自其它媒体,转载目的在于传递更多信息,并不代表本网赞同其观点和对其真实性负责。其版权归原作者所有,如有侵权请联系删除。
3、所有再转载者需自行获得原作者授权并注明来源。

刚表态过的朋友 (0 人)

最新评论

关闭

官方推荐 上一条 /3 下一条

客服中心 搜索 洽谈合作
返回顶部