立即注册找回密码

QQ登录

只需一步,快速开始

微信登录

微信扫一扫,快速登录

搜索
小桔灯网 门户 资讯中心 专栏文章 石头专栏 查看内容

FDA最新认证:Claros微流控PSA检测

2019-6-5 00:00| 编辑: 小桔灯网| 查看: 3591| 评论: 0|来源: 小桔灯网丨作者:石头道科普

摘要: 微流控芯片技术微流控芯片是一种在微纳米尺度下控制流体的技术平台。在2006年的时候,《Nature》出了一期专刊专门报道微流控领域的现状和未来的发展,使得微流控成为研究界和产业界大热的技术。“十三五”时,国务院 ...

微流控芯片技术

微流控芯片是一种在微纳米尺度下控制流体的技术平台。在2006年的时候,《Nature》出了一期专刊专门报道微流控领域的现状和未来的发展,使得微流控成为研究界和产业界大热的技术。“十三五”时,国务院印发的国家创新规划明确提出“突破微流控芯片、单分子检测、自动化核酸检测等关键技术,开发全自动核酸检测系统、高通量液相悬浮芯片、医用生物质谱仪、快速病理诊断系统等重大产品,研发一批重大疾病早期诊断和精确治疗诊断试剂以及适合基层医疗机构的高精度诊断产品,提升我国体外诊断产业竞争力。”


OPKO简介

OPKO Health是一家专注于诊断和药物的医学测试和药物公司。尽管没有在国内上市,OPKO在国内却以欧普科诊断有限责任公司进行了专利布局。OPKO于2011年10月13日收购了Claros Diagnostics,正式成立微流控诊断设备的研究与开发。三个月后,收购了Arctic Partners Ab Oy,获得基于激肽释放酶(hK2)的前列腺癌诊断测试。2014年,OPKO基于上面两个技术开发了4KScore测试,通过测定fPSA、tPSA、iPSA、hK2四种标志物,结合年龄、直肠指检(DRE)等结果,综合判断病人得前列腺癌的风险。该法能够准确地用于预测癌症在未来20年内传播到其他身体部位的可能性并指导患者护理决策。2019年,OPKO获得FDA批准使用Claros®1分析仪进行POC Total PSA测试。



Claros®1 PSA微流控芯片简介

Claros Diagnostics于2004年成立,主要从事微流控POC诊断设备的研发,创始人是哥伦比亚大学的Samuel Sia教授。Lab Chip 有一篇Samuel Sia教授写的商业化微流控诊断设备的经验总结文章,个人认为是非常好的一篇论文Lab Chip, 2012, 12, 2118-2134)。Claros平台包括一个小型血液收集装置,盒式组件和一个手持的便携式仪器。其第一个商业产品旨在检测与前列腺癌相关的蛋白质标志物,后续还会提供梅毒,艾滋病毒和丙型肝炎等性传播疾病的检测。Claros Sangia PSA测试于2019年获FDA的批准后,成为第一个用于PSA的床旁诊断设备,可以在患者身边提供PSA测试结果,例如在医生办公室。


Claros® 1 PSA微流控芯片使用步骤

  1. 利用样品收集器收集指尖血。血液样本由于毛细管的毛细作用被收集到样品管道。

  2. 插入样品收集器到微流控盒式组件,构成整个微流控芯片。

  3. 插入芯片到Claros®1分析仪中。

  4. 十分钟后得到PSA的定量测试结果。


样品收集器收集来自手指针的血样并填充样品收集器。样品收集器连接到盒式组件,然后将其插入Claros 1分析仪以完成测试。在Sangia Total PSA测试盒上运行的每个样品都包含单独的阳性和阴性对照检查,通过Claros 1分析仪在10分钟后报告定量测试结果。


Claros® 1 PSA微流控芯片原理分析:

Claros平台包括一个小型血液收集装置,盒式组件和一个手持的便携式仪器,下面分别做介绍。


完整的芯片图如下:


血液收集装置:

血液收集装置220内含有U形毛细管222,在接触到血液样本时,能够利用毛吸力自动吸取血液样本到管道中。收集了血液样本后,可以顺着202插口插入盒式组件组成完整的微流控芯片。该装置创新性的一点是毛细管222在插入202插口时,能够和组件内的微流控管道连接,行成微流控管道的一部分。


盒式微流控系统:

微流控内部的管道系统可简示为下图。U形222毛细管与管道207和206连接后,行成完整的微流控通道。第一通道206和第二通道207在盒子首次使用之前存储用了于处理和分析样本的试剂(206为金纳米修饰的PSA检测抗体,207为银染试剂)。209有四/五个检测区域,分别对应着阴性对照、阳性对照、检测区和内控区,分别标记了相应的捕获抗体。217为废液收集区。40是负压接口。

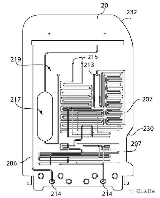
完整的芯片管路当然比这个复杂,但基本都是在这个基础上进行扩展。如下图所示,是Sangia Total PSA测试盒的管路图。简单来讲,其本质就是把207管道分成两路分别装载银盐溶液和还原溶液。感兴趣的可以结合照片和专利图进行分析,也可私下和我讨论。


便携式仪器:

便携式仪器主要包含蠕动泵系统、温控系统、信号读取系统、芯片检测系统和标签码读取系统。详细可参考PCT/US2011/032685专利。


总结

作为PSA检测的第一款微流控POC系统,Sangia Total PSA并没有采取目前大热的化学发光,而是采用了技术难度更为简单的银染信号放大。经过技术分析,该法和免疫层析试纸条其实很类似,结合银染试剂放大金标抗体信号进而实现了PSA的定量测试。和很多朋友聊到微流控诊断设备,大部分都在抱怨稳定性和准确性较差。我想说的是,作为一个新的技术平台,它的很多配套设备都需要这些企业进行攻克,在这个过程中如何选择合适的指标和技术路线具有很大的挑战性。也许再过几年,随着相关配套企业的成熟,微流控总会在体外诊断市场占据它应有的地位。

声明:
1、凡本网注明“来源:小桔灯网”的所有作品,均为本网合法拥有版权或有权使用的作品,转载需联系授权。
2、凡本网注明“来源:XXX(非小桔灯网)”的作品,均转载自其它媒体,转载目的在于传递更多信息,并不代表本网赞同其观点和对其真实性负责。其版权归原作者所有,如有侵权请联系删除。
3、所有再转载者需自行获得原作者授权并注明来源。

最新评论

关闭

官方推荐 上一条 /3 下一条

客服中心 搜索 洽谈合作
返回顶部